Buscar
  • What are The Advantages And Disadvantages Of Plug Valve Applications?

    The advantage of plug valve application is that the valve body installed on the top of the whole is equivalent to the ball valve installed on the top of the whole. Compared with two-piece or three-piece ball valve, it is a completely different type and application product.…
  • What Are The Structural Characteristics Of The Plug Valve

    The plug valve is mainly used for cutting off, upgrading and changing the flow direction of the medium in the pipeline. It is easy to adapt to a multi-channel structure, so that one valve can obtain two, three, or even four different flow channels, which can simplify the design of the piping system, reduce the amount of valve gates and some connection accessories required in the equipment.…
  • The Types Of Plug Valves Are Mainly Divided Into The Following Types

    Tight-sleeve plug valve The tight-sleeved plug valve is usually used in low-pressure straight-through pipelines. The sealing performance depends entirely on the fit between the plug and the plug body. Compress the sealing surface by tightening the lower nut. Generally used for PN≤0.6MPa.…
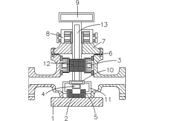
  • What Are The Characteristics Of The Eccentric Plug Valve?

    Eccentric plug valve is also called flexible cam valve and eccentric ball plug control valve. When the control valve approaches, it has an eccentric rotating spool. When the valve is closed, the bent arm of the valve core is deformed, so that the spherical ball plug of the valve core is in close contact with the valve seat, and the sealing performance is very good. The features of the eccentric pl…
  • Electric valve and pneumatic valve

    Electric valve is the main accessory electric actuator, namely electric actuator, which is mainly used in power plants or nuclear power plants, because the high-pressure water system requires a smooth, stable and slow process. The main advantages of electric actuators are high stability and constant thrust that users can apply. …
  • The difference between parallel double gate valve and wedge gate valve structure

    The difference between the parallel double gate valve and the wedge gate valve is that the sealing surface is parallel to the vertical centerline, so the sealing surface of the valve body and the gate are also parallel to each other. The most common type of this kind of gate valve is the double gate type. …
  • What are the advantages of the double disc gate valve?

    The double gate valve is suitable for the pipeline with water and sewage as the medium as a closed circuit device, and cannot be used for flow regulation or discharge. It is widely used in petroleum, chemical, pharmaceutical, electric power and other industries. It is used to open and close the steam, water, oil and other medium pipelines with a nominal pressure of ≤1.0MPa. We can manufacture para…
  • Can't be careless when installing a low-temperature control valve

    The regulating valve used in low temperature and cryogenic places is called the low temperature regulating valve. So in such a special environment, how do we effectively install the cryogenic control valve? The electric low-temperature control valve checks whether the parts of the whole machine are damaged or loose. For the use of media that are harmful to human health, strength, sealing, leakage …

angelinge1212

8615888749866

yoyo@vitalvalves.com

1227498965

Dejar un mensaje